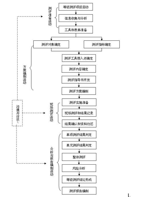
等保评测流程是针对信息系统安全等级保护的测评工作,其目的在于评估系统是否符合国家关于信息安全等级保护的相关要求,以下是等保评测流程的详细步骤:

1. 准备阶段
1.1 确定评测对象
明确需要评测的信息系统或网络的范围和边界。
1.2 收集资料
收集系统的相关资料,包括系统架构、业务功能、数据流等。
1.3 签订评测合同
与评测机构签订服务合同,明确评测范围、内容、时间、费用等条款。
2. 自评阶段

2.1 制定自评计划
制定详细的自评时间表和人员分工。
2.2 开展自评工作
根据国家相关标准和要求,对系统进行自我检查和评估。
2.3 编制自评报告
将自评结果形成书面报告,为后续的第三方评测提供基础信息。
3. 第三方评测阶段
3.1 提交自评报告

将自评报告提交给评测机构。
3.2 现场评测
评测机构进行现场评测,包括物理安全、网络安全、主机安全、应用安全等方面。
3.3 编制评测报告
评测机构根据现场评测情况编制评测报告。
4. 整改阶段
4.1 分析评测报告
分析评测报告中指出的问题和不符合项。
4.2 制定整改计划
针对问题制定详细的整改措施和计划。
4.3 实施整改
按照整改计划进行实际操作,解决安全问题。
4.4 验证整改效果
对整改后的系统进行再次检查,确保问题得到解决。
5. 复评阶段
5.1 提交整改报告
将整改情况和结果形成报告,提交给评测机构。
5.2 复评
评测机构对整改后的系统进行复评。
5.3 获取最终评测报告
根据复评结果获得最终的评测报告。
6. 持续监督
6.1 定期检查
定期对系统进行检查,确保持续符合等保要求。
6.2 更新维护
根据业务变化和技术发展,及时更新系统安全措施。
相关问题与解答
Q1: 如果评测结果显示系统存在重大安全隐患,应如何处理?
A1: 如果评测结果显示系统存在重大安全隐患,应立即启动紧急响应机制,暂停相关业务操作,防止安全事件的发生,应迅速制定针对性的整改方案,并在最短时间内完成整改,之后重新进行评测,确保所有安全隐患得到妥善解决。
Q2: 等保评测完成后,是否需要定期重新评测?
A2: 是的,等保评测完成后,由于信息系统的运行环境和技术条件可能会发生变化,因此需要定期进行重新评测,这有助于及时发现新的安全风险并加以应对,确保系统持续满足国家信息安全等级保护的要求,定期评测的频率通常由相关法规规定,或由企业根据实际情况自行决定。
【版权声明】:本站所有内容均来自网络,若无意侵犯到您的权利,请及时与我们联系将尽快删除相关内容!
发表回复