二级域名建立与连接的详细过程

在互联网中,域名系统(DNS)是用于将人们易于理解的域名转换为机器可读的IP地址的分布式数据库,一个顶级域名(TLD)是域名系统中最高级别的域,com、.org等,在顶级域名之下,可以创建二级域名,这些通常是由个人或组织注册并管理的,本文将详细介绍如何建立二级域名并建立连接。
步骤一:选择和注册域名
1、确定域名:选择一个独特且相关的名称,确保它简洁、易记,并且能够代表你的品牌或个人身份。
2、检查可用性:使用域名注册商提供的工具检查所选域名是否已被占用。
3、注册域名:通过域名注册商购买你选定的二级域名,这通常涉及支付年费。
步骤二:配置DNS记录
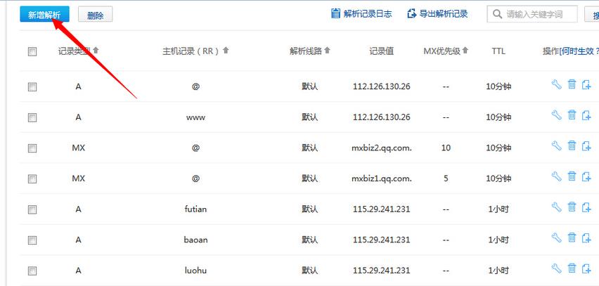
1、登录域名管理界面:登录到你的域名注册商提供的控制面板。
2、设置DNS记录:添加必要的DNS记录,如A记录、CNAME记录等,以指向你的服务器IP地址。

A记录:将域名指向一个IPv4地址。
CNAME记录:将域名指向另一个域名,常用于设置子域名。
3、保存更改:确认所有设置正确无误后,保存更改并等待DNS传播。
步骤三:配置Web服务器
1、安装Web服务器软件:根据需要安装Apache、Nginx等Web服务器软件。
2、配置虚拟主机:为你的二级域名配置虚拟主机或服务器块,确保能够处理来自该域名的请求。
3、上传网站内容:将网站文件上传到服务器的正确目录中。
步骤四:测试域名解析

1、使用ping命令:在命令行中使用ping命令检查域名是否正确解析到指定的IP地址。
2、使用浏览器访问:在浏览器中输入你的二级域名,确保网站能够正常显示。
步骤五:维护和监控
1、定期更新:保持域名注册信息的最新状态,并及时续费以避免过期。
2、监控性能:使用各种工具监控网站的可用性和性能,确保用户体验。
单元表格:常见的DNS记录类型
| 记录类型 | 用途 | 示例 |
| A记录 | 将域名指向IPv4地址 | example.com指向192.0.2.1 |
| AAAA记录 | 将域名指向IPv6地址 | example.com指向2001:0db8:85a3:0000:0000:8a2e:0370:7334 |
| CNAME记录 | 将域名指向另一个域名 | www.example.com指向example.com |
| MX记录 | 指定邮件服务器 | example.com的邮件服务器为mail.example.com |
| NS记录 | 指定域名服务器 | example.com的域名服务器为ns1.example.net |
相关问题与解答
Q1: 如果我想要为我的二级域名设置邮件服务,我需要添加哪种类型的DNS记录?
A1: 你需要添加MX记录来指定邮件服务器,这样你的二级域名才能处理电子邮件。
Q2: DNS更改后,我立即访问我的二级域名,但似乎没有变化,这是为什么?
A2: DNS更改可能需要几个小时到48小时不等的时间在全球DNS系统中传播,这个过程称为DNS缓存时间或DNS传播延迟,立即访问可能不会看到更改效果,耐心等待一段时间后再试,或者使用工具如dig来检查DNS记录是否已更新。
【版权声明】:本站所有内容均来自网络,若无意侵犯到您的权利,请及时与我们联系将尽快删除相关内容!
发表回复